使用 SSCB 保護現代高壓直流係統的優勢
發布時間:2024-09-23 責任編輯:lina
【導讀】zaigezhongyingyongzhong,xitongxiaolvhegonglvmidubuduantigao,zhedaozhilegenggaodezhiliuxitongdianya。raner,chuantongdedianlubaohujiejuefanganbuzuyizaibaochigaokekaoxingheanquanxingdetongshiyouxiaobaohuzhexiegaoyapeidianxitong。
zaigezhongyingyongzhong,xitongxiaolvhegonglvmidubuduantigao,zhedaozhilegenggaodezhiliuxitongdianya。raner,chuantongdedianlubaohujiejuefanganbuzuyizaibaochigaokekaoxingheanquanxingdetongshiyouxiaobaohuzhexiegaoyapeidianxitong。
固態斷路器 (SSCB) 和電熔斷器具有眾多優點,尤其是低允許通過電流和能量,因此現在正在集成到設計中。本文基於近在 PCIM 2024 博覽會和會議上的演講,探討了 SSCB 作為傳統解決方案的卓越替代方案的優勢。
此外,基於碳化矽的固態解決方案與直流熔斷器的比較表明,允許通過電流和能量顯著降低,電弧和電弧閃光的危險也減少了。
固態解決方案的優勢
高壓配電係統通常從電網、儲能係統 (ESS) huokezaishengnengyuandenglaiyuanjieshoudianli。zhexiexitongtongchangbaokuodianlidianzizhuanhuanqi,keyouxiaodijiangshurugonglvzhuanhuanweiwendingdezhiliuzongxiandianya,yongyuxiayoufuzai。zhexiexitongzhongdebuxianfanweicongjimidaojigonglibudeng,yinrulejishengxianhezongxiandiangan,zhehuiyingxiangdianlubaohuqijiandexingneng。
gutaijiejuefangantigongkuaisuxiangyingshijian,youyuchuantongdejiechuqihejidianqi,chuantongjiechuqihejidianqizaifuzaiduankaiqijianyouyuxitongganyingyinqidedianhuercunzaikekaoxingwenti。dianhuhuishijiechuqizujiantuihua,congerxianzhusuoduanqishiyongshouming。
圖 1 顯示了在負載下斷開 400 V 直流係統相關的電弧時間。固態解決方案可以在微秒內中斷高短路電流,比傳統解決方案中產生小電弧所需的短時間(圖 1 所示情況下為 4 ms)快得多。
圖 1:400 V 直流斷開後的電弧形成
在高壓應用中,安全至關重要。例如,在使用高壓鋰電池(如 ESS 和 EV)的(de)係(xi)統(tong)中(zhong),放(fang)電(dian)和(he)電(dian)弧(hu)會(hui)帶(dai)來(lai)重(zhong)大(da)的(de)安(an)全(quan)風(feng)險(xian)。這(zhe)些(xie)會(hui)觸(chu)發(fa)熱(re)失(shi)控(kong)事(shi)件(jian),這(zhe)些(xie)事(shi)件(jian)是(shi)危(wei)險(xian)的(de),而(er)且(qie)可(ke)能(neng)是(shi)災(zai)難(nan)性(xing)的(de)。快(kuai)速(su)響(xiang)應(ying)電(dian)路(lu)中(zhong)斷(duan)裝(zhuang)置(zhi)可(ke)以(yi)將(jiang)短(duan)路(lu)電(dian)流(liu)限(xian)製(zhi)在(zai)幾(ji)百(bai)安(an)培(pei),大(da)大(da)降(jiang)低(di)維(wei)持(chi)電(dian)弧(hu)閃(shan)光(guang)事(shi)件(jian)所(suo)需(xu)的(de)高(gao)電(dian)弧(hu)電(dian)流(liu),從(cong)而(er)提(ti)高(gao)係(xi)統(tong)安(an)全(quan)性(xing)。
測試設置
為了評估短路性能,已經建立了一個合適的電路(有關詳細信息,請參閱參考資料)。它由高壓直流電源、線路阻抗網絡、總線阻抗網絡、被測設備 (DUT) 和機電繼電器組成。這些組件模擬直流電源和下遊配電係統之間的阻抗。高壓差分電壓探頭和羅氏線圈分別測量線路電壓、總線電壓和短路電流。測試電路中存儲的能量計算為 113.4 J。

DUT 可在傳統保險絲和 SSCB 原型(Microchip 的輔助 E-Fuse 演示板,簡稱 E-Fuse)之間互換。
一旦電容器 C線和 C總線,在測試開始時已充電至 450 V,將直流電源從測試電路上拔下。當 DUT 配備典型保險絲時,繼電器觸點閉合以提供短路連接。當 DUT 是 E-Fuse 板時,繼電器被旁路,因為它被激活以使用通過本地互連網絡 (LIN) 傳輸的串行命令造成短路。
該研究在模擬高壓直流係統中比較了這兩種類型的設備。該實驗測量了模擬故障期間的清除時間、峰值電流、電壓暫降和允許通過能量等因素。
熔斷器測試和模擬
使用帶有傳統 20 A 快速熔斷保險絲的測試裝置,短路測試結果(圖 2)顯示清除時間為 276 μs,總線峰值電流為 3,590 A。電容完全放電,導致線路和總線電壓節點上出現負電壓(總線電壓降至 –110 V),這是由於測試前電源斷開造成的偽影。峰值功率達到 963 kW,能量為 85.4 J。
對傳統 20 A 快速熔斷器進行的短路測試結果。
圖 2:對傳統 20 A 快速熔斷器進行的短路測試結果
使用 MPLAB Mindi 模擬仿真器開發的基於 SPICE 的de模mo型xing對dui測ce試shi電dian路lu進jin行xing了le仿fang真zhen。該gai模mo型xing與yu物wu理li係xi統tong緊jin密mi結jie合he,可ke以yi評ping估gu線xian路lu電dian感gan對dui總zong線xian電dian壓ya驟zhou降jiang持chi續xu時shi間jian和he量liang的de影ying響xiang。仿fang真zhen結jie果guo表biao明ming,隨sui著zhe線xian路lu電dian感gan的de增zeng加jia,總zong線xian電dian壓ya下xia降jiang更geng明ming顯xian,從cong而er影ying響xiang係xi統tong穩wen定ding性xing。
E-Fuse 測試和仿真
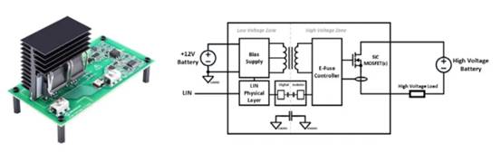
Microchip 輔助 E-Fuse 演示板(400 V、30 A 型號)在 0.8 μH 和 5 μH 的總線電感下進行了測試。該板如圖 3 所示,具有兩個並聯的 15 mΩ 700 V SiC MOSFET。
圖 3:Microchip 的 E-Fuse 板和原理圖
需要注意的是,E-Fuse banyuzhuanweixingshiyongershejidechuantongbaoxiansibutong,keyizaijiancedaoguodianliuhoufuwei。zhetigonglejigeyoushi,lirunenggouzaiduogegongzuotiaojianxiafenxihemiaoshudangeshebei。
該板包括一個工作電壓為 12 V 的低壓區,該低壓區是電氣隔離的,並將偏置電源傳輸到高壓區中的監視器、控製和驅動電路。跳閘曲線可以使用 LIN 進行調整,它由一個基於硬件的短路監視器組成,該監視器可配置為 33 A 的電流閾值分辨率。
測試結果顯示清除時間分別為 672 μs 和 6.3 μs,峰值總線電流為 216 A 和 287 A。總線電壓驟降,表明 E-Fuse 的有效電流中斷。
具有不同過流閾值的進一步測試表明,峰值允許電流範圍為 45 A 至 287 A,大多數測量的總線電壓驟降低於 1 V,峰值功率為 20 kW 至 129 kW,允許通過能量為 28 mJ 至 406 mJ。
與傳統保險絲相比,E-Fuse 表現出卓越的性能,峰值電流和能量顯著降低,提高了安全性和可靠性。
調查表明,SSCB 是一種比傳統保險絲更有效的解決方案。與保險絲和接觸器不同,SSCB 利用半導體以電子方式中斷電流。這消除了電弧並提供更快的響應時間,從而限製了故障事件期間流動的電流量。
免責聲明:本文為轉載文章,轉載此文目的在於傳遞更多信息,版權歸原作者所有。本文所用視頻、圖片、文字如涉及作品版權問題,請聯係小編進行處理。
推薦閱讀:
- 噪聲中提取真值!瑞盟科技推出MSA2240電流檢測芯片賦能多元高端測量場景
- 10MHz高頻運行!氮矽科技發布集成驅動GaN芯片,助力電源能效再攀新高
- 失真度僅0.002%!力芯微推出超低內阻、超低失真4PST模擬開關
- 一“芯”雙電!聖邦微電子發布雙輸出電源芯片,簡化AFE與音頻設計
- 一機適配萬端:金升陽推出1200W可編程電源,賦能高端裝備製造
- 1200餘家企業齊聚深圳,CITE2026打造電子信息產業創新盛宴
- 掌握 Gemini 3.1 Pro 參數調優的藝術
- 築牢安全防線:電池擠壓試驗機如何為新能源產業護航?
- Grok 4.1 API 實戰:構建 X 平台實時輿情監控 Agent
- 電源芯片國產化新選擇:MUN3CAD03-SF助力物聯網終端“芯”升級
- 車規與基於V2X的車輛協同主動避撞技術展望
- 數字隔離助力新能源汽車安全隔離的新挑戰
- 汽車模塊拋負載的解決方案
- 車用連接器的安全創新應用
- Melexis Actuators Business Unit
- Position / Current Sensors - Triaxis Hall





