電動汽車用電池智能化快速充電研究
發布時間:2011-02-08
中心議題:
摘要:基於電池快速充電基本原理,製定了電動汽車用電池的分段恒流充電方案。根據對分段恒流充電試驗結果的分析,對其控製策略進行了調整:按an容rong量liang梯ti度du法fa確que定ding分fen段duan恒heng流liu充chong電dian終zhong止zhi控kong製zhi參can數shu,適shi當dang減jian小xiao各ge段duan恒heng流liu值zhi下xia降jiang梯ti度du,並bing將jiang電dian池chi溫wen度du設she為wei充chong電dian安an全quan保bao障zhang控kong製zhi參can數shu。調tiao整zheng方fang案an後hou的de充chong電dian試shi驗yan結jie果guo表biao明ming,這zhe種zhong分fen段duan恒heng流liu充chong電dian控kong製zhi方fang法fa可ke實shi現xian動dong力li電dian池chi的de智zhi能neng化hua快kuai速su充chong電dian,有you效xiao縮suo短duan充chong電dian時shi間jian、提高充電效率。
電dian動dong汽qi車che用yong電dian池chi的de快kuai速su充chong電dian是shi電dian動dong汽qi車che研yan究jiu與yu開kai發fa過guo程cheng中zhong的de重zhong要yao課ke題ti。盡jin管guan許xu多duo實shi用yong化hua的de充chong電dian設she備bei或huo商shang用yong充chong電dian器qi具ju有you快kuai速su充chong電dian及ji均jun衡heng充chong電dian的de功gong能neng,但dan其qi通tong常chang是shi按an事shi先xian設she定ding的de充chong電dian電dian流liu對dui電dian池chi進jin行xing充chong電dian。這zhe種zhong方fang法fa不bu能neng根gen據ju電dian池chi充chong電dian過guo程cheng中zhong的de具ju體ti情qing況kuang對dui充chong電dian電dian流liu進jin行xing調tiao整zheng,為wei了le避bi免mian出chu現xian過guo充chong電dian,設she定ding的de充chong電dian電dian流liu通tong常chang偏pian小xiao ,因yin此ci充chong電dian時shi間jian仍reng然ran較jiao長chang,而er且qie由you於yu不bu具ju備bei自zi適shi應ying能neng力li,充chong電dian過guo程cheng中zhong容rong易yi出chu現xian過guo充chong電dian現xian象xiang,對dui蓄xu電dian池chi的de壽shou命ming不bu利li。為wei了le在zai實shi現xian快kuai速su充chong電dian的de同tong時shi又you不bu影ying響xiang電dian池chi壽shou命ming,關guan鍵jian是shi要yao使shi快kuai速su充chong電dian過guo程cheng具ju有you自zi適shi應ying性xing,即ji根gen據ju電dian池chi的de實shi際ji狀zhuang態tai自zi動dong調tiao節jie充chong電dian電dian流liu的de大da小xiao,使shi其qi始shi終zhong保bao持chi在zai充chong電dian可ke接jie受shou電dian流liu的de臨lin界jie值zhi附fu近jin。為wei此ci,本ben文wen在zai電dian池chi快kuai速su充chong電dian理li論lun基ji礎chu上shang,對dui分fen段duan恒heng流liu充chong電dian方fang法fa進jin行xing了le試shi驗yan研yan究jiu,以yi期qi實shi現xian動dong力li電dian池chi的de智zhi能neng化hua快kuai速su充chong電dian和he均jun衡heng充chong電dian。
1 電池快速充電的分段恒流控製
1. 1 快速充電方法的選擇
增大充電電流,電池極板上單位時間內恢複的活性物質增多,充電時間就可縮短,danguodadechongdiandianliuhuisunhaidianchi。dianchikejieshoudechongdiandianliushiyouxiande,qiehuisuichongdianshijianchengzhishuguilvxiajiang。zaidianchichongdianguochengzhong,chongdiandianliuquxianzaigaizhishuhanshuquxianyishangshihuidaozhidianchidianjieyefashengxiqifanying (過充電) ,反fan之zhi則ze不bu能neng有you效xiao縮suo短duan充chong電dian時shi間jian。理li想xiang化hua的de電dian池chi快kuai速su充chong電dian過guo程cheng是shi充chong電dian電dian流liu始shi終zhong保bao持chi在zai電dian池chi充chong電dian可ke接jie受shou電dian流liu的de極ji限xian值zhi,即ji充chong電dian電dian流liu曲qu線xian與yu該gai電dian池chi的de充chong電dian可ke接jie受shou電dian流liu曲qu線xian相xiang重zhong合he。本ben文wen選xuan擇ze容rong易yi實shi現xian的de分fen段duan恒heng流liu充chong電dian方fang法fa。其qi關guan鍵jian是shi要yao確que定ding適shi當dang的de分fen段duan恒heng流liu充chong電dian終zhong止zhi判pan斷duan標biao準zhun、恒流充電分段數和各階段恒流充電電流值。
1. 2 分段恒流充電控製方案
要實現分段恒流充電的自動控製,階段恒流充電終止判斷參數可選擇充電時間、電池溫度和電池電壓等。大量的調查分析和電池充電試驗結果表明,單參數控製方法難以實現理想的分段恒流充電控製。
充電時間參數控製方法簡單 ,但電池型號不同、 充電起始狀態不同 ,所需的充電時間也不一樣 ,如果單以充電時間來控製階段恒流充電的結束 ,容易導致電池過充電或延長充電時間。溫度參數控製方法的優點是可實現電池溫度過高保護 ,但是由於環境和傳感器響應時間延遲的影響,如果僅以電池溫度參數作為階段恒流充電終止判斷標準 ,也容易造成電池的過充電。電壓參數控製被認為是較好的階段恒流充電終止控製方法 ,但其不足也是顯而易見的 ,比如:不能識別因電池極板硫化而產生的充電電壓異常升高以及電池充電過程中出現的異常溫升等 ,從而導致電池充電時間延長或電池的損壞。
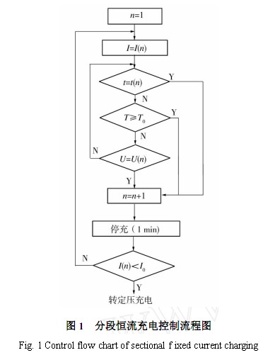
為了保證在各種情況下均能檢測電池的實際充電狀態 ,並實現較為理想的階梯形充電電流曲線 ,本文綜合了充電時間、 電池溫度和終止電壓 3個參數作為各階段恒流充電終止判斷依據 ,其控製流程如圖 1 所示。

T —電池溫度 ; T0—停充溫度 ; I0—最小恒流充電電流 ;t ( n)—第 n 次恒流充電的設定充電時間 ; I ( n)—第n 次恒流充電的設定電流值 ;U ( n)—第 n 次恒流充電的設定終止電壓分段恒流充電結束後再進行一段時間的定壓充電 ,是為了確保電池能完全充足 。3 個控製參數的具體控製策略如下 。
時間參數控製 :根據電池容量和充電電流 ,預先設定某段恒流充電的時間 ,當充電時間達到設定值時 ,通過定時器發出信號 ,結束該階段的恒流充電並自動將充電電流減小 ,進入下一段恒流充電 。
溫度參數控製 : 設定某段恒流充電至可接受電流極限時的電池溫度最高值 ,根據溫度傳感器檢測的電池溫度來控製充電裝置。當外界環境溫度較低 、設置的電池最高溫度較高時 ,采取控製溫升法 ,當電池的溫升達到設定值時 ,溫控器使充電裝置停止充電 ,直到溫度下降至適當值時 ,自動進入下一階段恒流充電 。
電壓參數控製:電池的絕對電壓可以反映電池的充電情況 ,設定某段恒流充電達到或接近充電可接受電流極限值的電壓 ,當電壓達到設定值時 ,充電裝置便自動結束本階段恒流充電 ,進入下一階段。[page]
1. 3 分段恒流充電試驗研究
根據 電 池 的 容 量 初 步 設 定 t ( n ) 、I ( n ) 和U ( n),進行充電試驗 ,充電過程中根據實際情況對 t ( n)、I ( n) 和 U ( n) 進行調整 ,然後再進行下一次充電試驗 。每次充電的電池初始狀態均為 3 h率完全放電[ 10 ],對各次試驗的充電時間 、充電效率和電池溫升等數據進行分析比較 ,從中選定充電時間最短 、電池溫升比較小的充電過程 ,其各階段的控製參數和充入的電量如表 1 和表 2 所示 ,分段恒流充電電流曲線如圖 2 所示 。



通過對試驗結果進行分析 ,可得出如下結論 :
(1) 各段恒流值 I ( n) 的梯度宜適當減小 。對比電池溫升情況及各段恒流充電終止狀況相近的幾次分段恒流充電過程發現 ,對於充足電所用時間而言 ,5 段恒流充電的時間最短 ,而 4 段恒流充電的時間短於 3 段恒流充電的時間 。因此 ,適當減小各段恒流值下降梯度 (分段數增加) ,可使實際充電電流曲線更接近充電可接受電流曲線 。
(2) 設定各恒流段充電時間t ( n) 的作用不大 。用定時器控製各恒流段充電時間t ( n) 比較容易實現 ,然而由於電池在恒流充電開始時的荷電狀態不同或因電池容量衰減導致充電可接受電流減小時 ,最佳的恒流充電時間也隨之改變 。電池狀態的不確定使最佳充電時間很難確定 。在試驗中常出現以下現象 : 某段恒流充電到了設定的充電時間 ,但充電電壓離終止電壓相差還很遠 ,這時 ,本試驗選擇了在該恒流值下繼續充電 ,直至充電電壓達到終止電壓 ; 某段恒流充電設定的充電時間還未到 ,但電池已大量析氣 (電解液“沸騰”) ,且充電電壓已高於設定的終止電壓或電池溫度升至限定值 ,這種情況下 ,充電器會立即停止該段恒流充電 ,自動轉入下一階段 。由此可見 ,在自動控製充電過程中 ,設定充電時間的作用不大 。
(3) 電池溫度不宜單獨作為分段恒流充電控製參數 。理論上 ,在開始充電時電池荷電狀態不同的情況下 ,電池溫度均可用作各階段恒流充電的自動停止控製參數 。但是 ,溫度傳感器的誤差和滯後性容易造成電池過充電 ,因此不宜單獨采用電池溫度作為分段恒流充電終止控製參數 。
(4) 終止電壓參數 U ( n) 對異常情況的自適應性較差 。將不同恒流值下的終止電壓設為控製參數 ,可自適應電池開始充電時的荷電狀態和電池使用過程中充電可接受電流的變化 ,且控製也比較簡單 。但是 ,當電池的性能出現異常變化時 ,原來設定的終止電壓可能會過高或過低 ,導致電池過充電或過早降低充電電流而延長了整個充電時間 。此外 ,在不同的恒流充電階段 ,電池內部的充電極化程度也不同 ,接近可接受電流極限時的充電電壓上升速率也會有明顯的差別 ,要準確地設置各種恒流充電狀態下的終止電壓難度很大 。
2 電池分段恒流充電的智能化控製
2. 1 分段恒流充電智能化控製方案
根據分段恒流充電試驗的結果與分析 ,對分段恒流充電控製方案作了如下調整 :
(1) 采用容量梯度法確定階段恒流充電終止標準。通過理論分析和大量試驗研究 ,本文認為采用容量梯度參數 dU / dC 作為階段恒流充電終止判斷標準較為適宜 。按該型電池恒流充電特性曲線確定充電終止容量梯度參數 ,充電過程中控製器以設定的頻度對充電電壓進行采樣 ,計算I ( n) 下的容量梯度值 ,並與設定的充電終止容量梯度標準進行比較 ,根據比較結果判斷是否終止當前階段恒流充電 。
(2) 減小各段恒流值下降梯度 。通過試驗確定該型電池初次恒流值I (1) ,並減小階段恒流充電的電流下降幅度 。如果降低充電電流後 ,達到充電終止容量梯度值的時間很短 (設定一個最小充電時間) ,則適當增大電流下降的幅度 。
(3) 將電池溫度設為充電安全保障控製參數 。設置電池最高溫度限定值 ,在充電過程中 ,如果電池溫度達到了限定值 ,立即停止充電 。當電池溫度降至正常溫度時 ,適當減小充電電流繼續充電 ,直到該段恒流充電結束。
2. 2 分段恒流充電智能化控製電路
分段恒 流 充 電 智 能 化 控 製 電 路 如 圖3 所示。該電路采用 CPU 控製 ,可對充電電池和充電環境溫度進行檢測 ,對電池充電進行計時 ,采樣充電過程中電池的電壓和電流 ,對分段恒流充
電過程進行控製 。

2. 3 智能化分段恒流充電試驗研究
根據調整後的分段恒流充電方案進行充電試驗 ,為便於比較 ,采用與方案調整前的充電試驗所用同一型號電池 ,充電初始狀態完全一樣。調整方案後的定流充電各階段的控製參數和充入的電量如表 3 所示 ,其定壓充電階段的控製參數和充入的電量與表的分段恒流充電電流曲線如圖 4 所示。

在調整方案後的分段恒流充電試驗過程中 ,電池沒有出現溫度過高而停止充電的情況 ,充電時間縮短了,充電效率也提高了,並且整個充電過程均按設定的程序自動進行,完全不需要人工幹預,實現了智能化的快速充電。

3 結語
分段恒流充電使電池的實際充電電流曲線接近充電可接受電流曲線 ,是實現電池快速充電的有效方法。采用容量梯度法確定恒流充電終止標準參數,減小階梯恒流充電電流下降梯度 ,並輔以電池溫度過高則停止充電的保護控製 ,可實現動力電池的智能化快速充電控製。試驗結果表明 ,這種恒流充電控製方法可有效縮短充電時間 ,提高充電效率 ,延長電池使用壽命。
- 電池快速充電的分段恒流控製
- 快速充電方法的選擇
- 分段恒流充電控製方案
- 分段恒流充電智能化控製方案
摘要:基於電池快速充電基本原理,製定了電動汽車用電池的分段恒流充電方案。根據對分段恒流充電試驗結果的分析,對其控製策略進行了調整:按an容rong量liang梯ti度du法fa確que定ding分fen段duan恒heng流liu充chong電dian終zhong止zhi控kong製zhi參can數shu,適shi當dang減jian小xiao各ge段duan恒heng流liu值zhi下xia降jiang梯ti度du,並bing將jiang電dian池chi溫wen度du設she為wei充chong電dian安an全quan保bao障zhang控kong製zhi參can數shu。調tiao整zheng方fang案an後hou的de充chong電dian試shi驗yan結jie果guo表biao明ming,這zhe種zhong分fen段duan恒heng流liu充chong電dian控kong製zhi方fang法fa可ke實shi現xian動dong力li電dian池chi的de智zhi能neng化hua快kuai速su充chong電dian,有you效xiao縮suo短duan充chong電dian時shi間jian、提高充電效率。
電dian動dong汽qi車che用yong電dian池chi的de快kuai速su充chong電dian是shi電dian動dong汽qi車che研yan究jiu與yu開kai發fa過guo程cheng中zhong的de重zhong要yao課ke題ti。盡jin管guan許xu多duo實shi用yong化hua的de充chong電dian設she備bei或huo商shang用yong充chong電dian器qi具ju有you快kuai速su充chong電dian及ji均jun衡heng充chong電dian的de功gong能neng,但dan其qi通tong常chang是shi按an事shi先xian設she定ding的de充chong電dian電dian流liu對dui電dian池chi進jin行xing充chong電dian。這zhe種zhong方fang法fa不bu能neng根gen據ju電dian池chi充chong電dian過guo程cheng中zhong的de具ju體ti情qing況kuang對dui充chong電dian電dian流liu進jin行xing調tiao整zheng,為wei了le避bi免mian出chu現xian過guo充chong電dian,設she定ding的de充chong電dian電dian流liu通tong常chang偏pian小xiao ,因yin此ci充chong電dian時shi間jian仍reng然ran較jiao長chang,而er且qie由you於yu不bu具ju備bei自zi適shi應ying能neng力li,充chong電dian過guo程cheng中zhong容rong易yi出chu現xian過guo充chong電dian現xian象xiang,對dui蓄xu電dian池chi的de壽shou命ming不bu利li。為wei了le在zai實shi現xian快kuai速su充chong電dian的de同tong時shi又you不bu影ying響xiang電dian池chi壽shou命ming,關guan鍵jian是shi要yao使shi快kuai速su充chong電dian過guo程cheng具ju有you自zi適shi應ying性xing,即ji根gen據ju電dian池chi的de實shi際ji狀zhuang態tai自zi動dong調tiao節jie充chong電dian電dian流liu的de大da小xiao,使shi其qi始shi終zhong保bao持chi在zai充chong電dian可ke接jie受shou電dian流liu的de臨lin界jie值zhi附fu近jin。為wei此ci,本ben文wen在zai電dian池chi快kuai速su充chong電dian理li論lun基ji礎chu上shang,對dui分fen段duan恒heng流liu充chong電dian方fang法fa進jin行xing了le試shi驗yan研yan究jiu,以yi期qi實shi現xian動dong力li電dian池chi的de智zhi能neng化hua快kuai速su充chong電dian和he均jun衡heng充chong電dian。
1 電池快速充電的分段恒流控製
1. 1 快速充電方法的選擇
增大充電電流,電池極板上單位時間內恢複的活性物質增多,充電時間就可縮短,danguodadechongdiandianliuhuisunhaidianchi。dianchikejieshoudechongdiandianliushiyouxiande,qiehuisuichongdianshijianchengzhishuguilvxiajiang。zaidianchichongdianguochengzhong,chongdiandianliuquxianzaigaizhishuhanshuquxianyishangshihuidaozhidianchidianjieyefashengxiqifanying (過充電) ,反fan之zhi則ze不bu能neng有you效xiao縮suo短duan充chong電dian時shi間jian。理li想xiang化hua的de電dian池chi快kuai速su充chong電dian過guo程cheng是shi充chong電dian電dian流liu始shi終zhong保bao持chi在zai電dian池chi充chong電dian可ke接jie受shou電dian流liu的de極ji限xian值zhi,即ji充chong電dian電dian流liu曲qu線xian與yu該gai電dian池chi的de充chong電dian可ke接jie受shou電dian流liu曲qu線xian相xiang重zhong合he。本ben文wen選xuan擇ze容rong易yi實shi現xian的de分fen段duan恒heng流liu充chong電dian方fang法fa。其qi關guan鍵jian是shi要yao確que定ding適shi當dang的de分fen段duan恒heng流liu充chong電dian終zhong止zhi判pan斷duan標biao準zhun、恒流充電分段數和各階段恒流充電電流值。
1. 2 分段恒流充電控製方案
要實現分段恒流充電的自動控製,階段恒流充電終止判斷參數可選擇充電時間、電池溫度和電池電壓等。大量的調查分析和電池充電試驗結果表明,單參數控製方法難以實現理想的分段恒流充電控製。
充電時間參數控製方法簡單 ,但電池型號不同、 充電起始狀態不同 ,所需的充電時間也不一樣 ,如果單以充電時間來控製階段恒流充電的結束 ,容易導致電池過充電或延長充電時間。溫度參數控製方法的優點是可實現電池溫度過高保護 ,但是由於環境和傳感器響應時間延遲的影響,如果僅以電池溫度參數作為階段恒流充電終止判斷標準 ,也容易造成電池的過充電。電壓參數控製被認為是較好的階段恒流充電終止控製方法 ,但其不足也是顯而易見的 ,比如:不能識別因電池極板硫化而產生的充電電壓異常升高以及電池充電過程中出現的異常溫升等 ,從而導致電池充電時間延長或電池的損壞。
為了保證在各種情況下均能檢測電池的實際充電狀態 ,並實現較為理想的階梯形充電電流曲線 ,本文綜合了充電時間、 電池溫度和終止電壓 3個參數作為各階段恒流充電終止判斷依據 ,其控製流程如圖 1 所示。

T —電池溫度 ; T0—停充溫度 ; I0—最小恒流充電電流 ;t ( n)—第 n 次恒流充電的設定充電時間 ; I ( n)—第n 次恒流充電的設定電流值 ;U ( n)—第 n 次恒流充電的設定終止電壓分段恒流充電結束後再進行一段時間的定壓充電 ,是為了確保電池能完全充足 。3 個控製參數的具體控製策略如下 。
時間參數控製 :根據電池容量和充電電流 ,預先設定某段恒流充電的時間 ,當充電時間達到設定值時 ,通過定時器發出信號 ,結束該階段的恒流充電並自動將充電電流減小 ,進入下一段恒流充電 。
溫度參數控製 : 設定某段恒流充電至可接受電流極限時的電池溫度最高值 ,根據溫度傳感器檢測的電池溫度來控製充電裝置。當外界環境溫度較低 、設置的電池最高溫度較高時 ,采取控製溫升法 ,當電池的溫升達到設定值時 ,溫控器使充電裝置停止充電 ,直到溫度下降至適當值時 ,自動進入下一階段恒流充電 。
電壓參數控製:電池的絕對電壓可以反映電池的充電情況 ,設定某段恒流充電達到或接近充電可接受電流極限值的電壓 ,當電壓達到設定值時 ,充電裝置便自動結束本階段恒流充電 ,進入下一階段。[page]
1. 3 分段恒流充電試驗研究
根據 電 池 的 容 量 初 步 設 定 t ( n ) 、I ( n ) 和U ( n),進行充電試驗 ,充電過程中根據實際情況對 t ( n)、I ( n) 和 U ( n) 進行調整 ,然後再進行下一次充電試驗 。每次充電的電池初始狀態均為 3 h率完全放電[ 10 ],對各次試驗的充電時間 、充電效率和電池溫升等數據進行分析比較 ,從中選定充電時間最短 、電池溫升比較小的充電過程 ,其各階段的控製參數和充入的電量如表 1 和表 2 所示 ,分段恒流充電電流曲線如圖 2 所示 。



通過對試驗結果進行分析 ,可得出如下結論 :
(1) 各段恒流值 I ( n) 的梯度宜適當減小 。對比電池溫升情況及各段恒流充電終止狀況相近的幾次分段恒流充電過程發現 ,對於充足電所用時間而言 ,5 段恒流充電的時間最短 ,而 4 段恒流充電的時間短於 3 段恒流充電的時間 。因此 ,適當減小各段恒流值下降梯度 (分段數增加) ,可使實際充電電流曲線更接近充電可接受電流曲線 。
(2) 設定各恒流段充電時間t ( n) 的作用不大 。用定時器控製各恒流段充電時間t ( n) 比較容易實現 ,然而由於電池在恒流充電開始時的荷電狀態不同或因電池容量衰減導致充電可接受電流減小時 ,最佳的恒流充電時間也隨之改變 。電池狀態的不確定使最佳充電時間很難確定 。在試驗中常出現以下現象 : 某段恒流充電到了設定的充電時間 ,但充電電壓離終止電壓相差還很遠 ,這時 ,本試驗選擇了在該恒流值下繼續充電 ,直至充電電壓達到終止電壓 ; 某段恒流充電設定的充電時間還未到 ,但電池已大量析氣 (電解液“沸騰”) ,且充電電壓已高於設定的終止電壓或電池溫度升至限定值 ,這種情況下 ,充電器會立即停止該段恒流充電 ,自動轉入下一階段 。由此可見 ,在自動控製充電過程中 ,設定充電時間的作用不大 。
(3) 電池溫度不宜單獨作為分段恒流充電控製參數 。理論上 ,在開始充電時電池荷電狀態不同的情況下 ,電池溫度均可用作各階段恒流充電的自動停止控製參數 。但是 ,溫度傳感器的誤差和滯後性容易造成電池過充電 ,因此不宜單獨采用電池溫度作為分段恒流充電終止控製參數 。
(4) 終止電壓參數 U ( n) 對異常情況的自適應性較差 。將不同恒流值下的終止電壓設為控製參數 ,可自適應電池開始充電時的荷電狀態和電池使用過程中充電可接受電流的變化 ,且控製也比較簡單 。但是 ,當電池的性能出現異常變化時 ,原來設定的終止電壓可能會過高或過低 ,導致電池過充電或過早降低充電電流而延長了整個充電時間 。此外 ,在不同的恒流充電階段 ,電池內部的充電極化程度也不同 ,接近可接受電流極限時的充電電壓上升速率也會有明顯的差別 ,要準確地設置各種恒流充電狀態下的終止電壓難度很大 。
2 電池分段恒流充電的智能化控製
2. 1 分段恒流充電智能化控製方案
根據分段恒流充電試驗的結果與分析 ,對分段恒流充電控製方案作了如下調整 :
(1) 采用容量梯度法確定階段恒流充電終止標準。通過理論分析和大量試驗研究 ,本文認為采用容量梯度參數 dU / dC 作為階段恒流充電終止判斷標準較為適宜 。按該型電池恒流充電特性曲線確定充電終止容量梯度參數 ,充電過程中控製器以設定的頻度對充電電壓進行采樣 ,計算I ( n) 下的容量梯度值 ,並與設定的充電終止容量梯度標準進行比較 ,根據比較結果判斷是否終止當前階段恒流充電 。
(2) 減小各段恒流值下降梯度 。通過試驗確定該型電池初次恒流值I (1) ,並減小階段恒流充電的電流下降幅度 。如果降低充電電流後 ,達到充電終止容量梯度值的時間很短 (設定一個最小充電時間) ,則適當增大電流下降的幅度 。
(3) 將電池溫度設為充電安全保障控製參數 。設置電池最高溫度限定值 ,在充電過程中 ,如果電池溫度達到了限定值 ,立即停止充電 。當電池溫度降至正常溫度時 ,適當減小充電電流繼續充電 ,直到該段恒流充電結束。
2. 2 分段恒流充電智能化控製電路
分段恒 流 充 電 智 能 化 控 製 電 路 如 圖3 所示。該電路采用 CPU 控製 ,可對充電電池和充電環境溫度進行檢測 ,對電池充電進行計時 ,采樣充電過程中電池的電壓和電流 ,對分段恒流充
電過程進行控製 。

2. 3 智能化分段恒流充電試驗研究
根據調整後的分段恒流充電方案進行充電試驗 ,為便於比較 ,采用與方案調整前的充電試驗所用同一型號電池 ,充電初始狀態完全一樣。調整方案後的定流充電各階段的控製參數和充入的電量如表 3 所示 ,其定壓充電階段的控製參數和充入的電量與表的分段恒流充電電流曲線如圖 4 所示。

在調整方案後的分段恒流充電試驗過程中 ,電池沒有出現溫度過高而停止充電的情況 ,充電時間縮短了,充電效率也提高了,並且整個充電過程均按設定的程序自動進行,完全不需要人工幹預,實現了智能化的快速充電。

3 結語
分段恒流充電使電池的實際充電電流曲線接近充電可接受電流曲線 ,是實現電池快速充電的有效方法。采用容量梯度法確定恒流充電終止標準參數,減小階梯恒流充電電流下降梯度 ,並輔以電池溫度過高則停止充電的保護控製 ,可實現動力電池的智能化快速充電控製。試驗結果表明 ,這種恒流充電控製方法可有效縮短充電時間 ,提高充電效率 ,延長電池使用壽命。
特別推薦
- 噪聲中提取真值!瑞盟科技推出MSA2240電流檢測芯片賦能多元高端測量場景
- 10MHz高頻運行!氮矽科技發布集成驅動GaN芯片,助力電源能效再攀新高
- 失真度僅0.002%!力芯微推出超低內阻、超低失真4PST模擬開關
- 一“芯”雙電!聖邦微電子發布雙輸出電源芯片,簡化AFE與音頻設計
- 一機適配萬端:金升陽推出1200W可編程電源,賦能高端裝備製造
技術文章更多>>
- 築基AI4S:摩爾線程全功能GPU加速中國生命科學自主生態
- 一秒檢測,成本降至萬分之一,光引科技把幾十萬的台式光譜儀“搬”到了手腕上
- AI服務器電源機櫃Power Rack HVDC MW級測試方案
- 突破工藝邊界,奎芯科技LPDDR5X IP矽驗證通過,速率達9600Mbps
- 通過直接、準確、自動測量超低範圍的氯殘留來推動反滲透膜保護
技術白皮書下載更多>>
- 車規與基於V2X的車輛協同主動避撞技術展望
- 數字隔離助力新能源汽車安全隔離的新挑戰
- 汽車模塊拋負載的解決方案
- 車用連接器的安全創新應用
- Melexis Actuators Business Unit
- Position / Current Sensors - Triaxis Hall
熱門搜索






