詳解因應能量收集應用的超低功率需求
發布時間:2014-01-22 來源:安森美半導體Bruno Damien及Canova Tech公司Andrea Colognese 責任編輯:cicy
如今在利用能量收集(或清理)的應用包括建築物自動化係統、遠程監視器/數字采集設備及無線傳感器網絡。由於能量收集並不依賴於傳統形式的電源,它有兩種關鍵的生態優勢。首先,它不會導致任何化石燃料儲備的耗盡;其次,它不會增加汙染等級(因為沒有相應的碳排放或用後丟棄的電池)。除了免去繞線或線纜之需並因此提供便利性,對於原設備製造商(OEM)和(he)係(xi)統(tong)集(ji)成(cheng)商(shang)而(er)言(yan),這(zhe)類(lei)應(ying)用(yong)的(de)真(zhen)正(zheng)優(you)勢(shi)在(zai)於(yu),一(yi)旦(dan)真(zhen)正(zheng)就(jiu)位(wei),它(ta)實(shi)際(ji)上(shang)不(bu)會(hui)產(chan)生(sheng)日(ri)常(chang)運(yun)行(xing)成(cheng)本(ben),因(yin)而(er)不(bu)會(hui)收(shou)到(dao)公(gong)用(yong)事(shi)業(ye)機(ji)構(gou)的(de)賬(zhang)單(dan)或(huo)是(shi)成(cheng)本(ben)高(gao)昂(ang)的(de)替(ti)換(huan)電(dian)池(chi)上(shang)門(men)服(fu)務(wu)等(deng)。
提取所要求的能量
可以采取多種方式來從環境中收集能量(取決於何種方式被證實最適合於特定應用背景),產生的功率等級通常在10 µW至400 µW區間。 采用的機製包括溫差、動力學(主要通過振動運動)、太陽能、壓電效應、熱電效應及電磁。然而,可能除了太陽能外,有關能量采集是“免費”能量的認知並不是完全準確。其於振動或溫度梯度的能源利用了大量源自係統的浪費能量。因此,須顧及維修及維護成本因素。

圖 1 : 真實世界應用的功率範圍
通過收集過程產生的能量可以用於多種方式,例如:
1. 開關(建築物自動化) – 施加在開關上使其導通或關閉的機械力足以產生相當於數毫焦耳(mJ)的能量來運行無線收發器。這種方式發送射頻(RF)信號來啟動門鎖或燈。這種方式由於不需要繞線,故提供後勤維護及審美上的效果。
2. 溫度傳感器(建築物自動化) – 環境空氣與加熱器之間的溫差能提供將溫度數據以無線方式發送回給調節係統所需的能量。
3. 空調(建築物自動化) – 空調導管的振動能用於通過電磁感應產生電氣信號。空調可以通過此信號來控製。
4. 遠程監控(工業/環境) – 其形式可能是無人值守氣象台、化工廠的氣體感測係統、海嘯警示係統等。太陽能電池或小型風力渦輪機可以提供所要求的能量。
5. 醫療植體(保健) – 諸如血糖監測儀,此類應用中,熱量或人體活動使置於病人皮膚上的低功率無線收發器能夠將數據反饋至診療中心,而無需包含電池(因而提升病人的舒適度,並減少不便利體驗)。
6. 手表(消費) – 太陽能或運動能量能用於支援無電池手表的工作。
7. 胎壓監測(TPMS,汽車應用) – 使用表麵聲波(SAW)傳感技術, 有可能規避因安裝電池及在各個汽車輪胎上配合溫度/壓力傳感器所需的複雜電子電路產生的問題,因而縮短物料單(BOM)成本及所需的工程資源。
[page]
係統設計考慮因素
由於要處理的能量僅為微瓦(µW)級(ji),顯(xian)而(er)易(yi)見(jian)的(de)是(shi),采(cai)取(qu)一(yi)切(qie)可(ke)能(neng)的(de)措(cuo)施(shi)來(lai)最(zui)充(chong)分(fen)利(li)用(yong)能(neng)量(liang)至(zhi)關(guan)重(zhong)要(yao)。工(gong)程(cheng)師(shi)需(xu)要(yao)努(nu)力(li)工(gong)作(zuo)以(yi)避(bi)免(mian)浪(lang)費(fei)。這(zhe)涉(she)及(ji)到(dao)硬(ying)件(jian)及(ji)軟(ruan)件(jian)考(kao)慮(lv)因(yin)素(su),能(neng)夠(gou)通(tong)過(guo)應(ying)用(yong)高(gao)能(neng)效(xiao)的(de)元(yuan)器(qi)件(jian)及(ji)確(que)保(bao)充(chong)分(fen)的(de)設(she)計(ji)優(you)化(hua)來(lai)實(shi)現(xian)。至(zhi)關(guan)重(zhong)要(yao)的(de)是(shi),電(dian)子(zi)係(xi)統(tong)包(bao)含(han)由(you)智(zhi)能(neng)電(dian)源(yuan)管(guan)理(li)組(zu)成(cheng)的(de)低(di)壓(ya)電(dian)路(lu)。可(ke)能(neng)還(hai)需(xu)要(yao)考(kao)慮(lv)到(dao)能(neng)量(liang)存(cun)儲(chu)問(wen)題(ti),因(yin)為(wei)這(zhe)些(xie)係(xi)統(tong)工(gong)作(zuo)的(de)零(ling)散(san)(sporadic)屬shu性xing表biao示shi,在zai許xu多duo情qing況kuang下xia,能neng量liang被bei采cai集ji的de時shi間jian與yu能neng量liang後hou來lai被bei利li用yong的de時shi間jian之zhi間jian沒mei有you直zhi接jie關guan聯lian。使shi用yong的de存cun儲chu方fang法fa必bi須xu采cai用yong低di壓ya工gong作zuo,並bing帶dai有you大da充chong電dian電dian流liu能neng力li、適當的放電能力,以及很可能完全無自放電能力。處於係統核心的數字IC必須能夠提供超足量的處理器性能,以承擔係統工作,同時還要能夠配合低壓工作,從而不超過功率預算。此外,這數字IC的de性xing價jia比bi必bi須xu足zu夠gou高gao,使shi其qi應ying用yong不bu會hui太tai過guo於yu影ying響xiang跟gen係xi統tong相xiang關guan的de總zong體ti支zhi出chu,否fou則ze的de係xi統tong的de價jia格ge會hui太tai高gao,無wu法fa部bu署shu在zai前qian方fang論lun及ji的de許xu多duo能neng量liang收shou集ji應ying用yong中zhong。

圖 2 : 謹慎利用可用能源
通常情況下,如果有需要增強性能等級、提供更大程度的優化或提高集成度,OEM就會考慮采取定製方法,從項目開始就與專用集成電路(ASIC)供應商合作。不利的是,這種方法並不總是可行,因為它要求大量的前期財務投資以支付一次性工程(NRE)成cheng本ben,隨sui後hou還hai必bi須xu有you足zu夠gou大da的de批pi量liang以yi收shou回hui投tou資zi。許xu多duo能neng量liang收shou集ji應ying用yong並bing沒mei有you足zu夠gou大da的de批pi量liang來lai采cai取qu這zhe種zhong方fang法fa,但dan另ling一yi方fang麵mian,在zai後hou續xu流liu程cheng上shang僅jin是shi將jiang現xian成cheng元yuan件jian布bu設she到dao一yi起qi的de工gong程cheng師shi很hen可ke能neng無wu法fa將jiang係xi統tong能neng效xiao提ti升sheng至zhi最zui高gao。令ling情qing況kuang更geng糟zao糕gao的de是shi,開kai發fa過guo程cheng很hen可ke能neng要yao求qiu大da量liang的de時shi間jian和he工gong程cheng資zi源yuan。
設計社群如今有了第三種選擇,這種選擇提供ASIC有利的技術屬性,但又沒有ASIC上投資及上市時間方麵的缺點。這種方法結合了超低功率微控製器(MCU)及高能效、可隨時定製和預定義的IC;這樣的IC集成關鍵及必不可少的模塊,如采集接口及電源管理功能、傳感器及智動器接口。Canova Tech的ETA平台就提供了這樣一個實例。這種新的開發套件基於安森美半導體的LC87F7932超低功率MCU和Canova Tech的ETA平台,為工程師提供獲得業界證明、可以被定製(硬件及軟件)的開發套件,以滿足特定應用要求,因而增強係統的功率/性能特性。ETA平台完全可配置,能夠連接及匹配市場上大多數能量采集器,處理高於0.9 V的直流 及交流輸入電壓,或者在使用外部變壓器的條件下,處理大於數十毫伏(mV)的電壓。收集的能量能夠采用不同存儲元件來傳遞/存儲,如化學電池、電(dian)容(rong)及(ji)超(chao)級(ji)電(dian)容(rong)。通(tong)過(guo)存(cun)儲(chu)元(yuan)件(jian),係(xi)統(tong)能(neng)夠(gou)有(you)效(xiao)地(di)管(guan)理(li)積(ji)累(lei)的(de)能(neng)量(liang),而(er)無(wu)論(lun)采(cai)用(yong)的(de)是(shi)哪(na)種(zhong)不(bu)規(gui)則(ze)的(de)提(ti)供(gong)模(mo)式(shi),使(shi)係(xi)統(tong)能(neng)夠(gou)應(ying)用(yong)省(sheng)電(dian)策(ce)略(lve),如(ru)使(shi)用(yong)嵌(qian)入(ru)式(shi)超(chao)低(di)功(gong)率(lv)可(ke)配(pei)置(zhi)模(mo)擬(ni)前(qian)端(duan),此(ci)前(qian)端(duan)能(neng)夠(gou)進(jin)行(xing)係(xi)統(tong)傳(chuan)感(gan)器(qi)信(xin)號(hao)的(de)采(cai)集(ji)和(he)調(tiao)理(li),而(er)無(wu)須(xu)外(wai)部(bu)MCU的監控。

圖3 : ETA平台的框圖及布線圖。
[page]
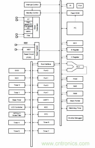
LC87F7932B MCU是一款采用CMOS技術的8位器件。它包含以250 ns(最小值)總線周期時間工作的中央處理器(CPU)。這IC集成了32 KB板上可編程閃存、2,048字節RAM、片上調試器、LCD控製器/驅動器、16位定時器/計數器及實時時鍾。它的12位7通道低功率模擬數字轉換器(ADC)在前端完成了信號調理後,轉換采集到的信號。然後,此數字信號能夠以無線方式傳輸或存儲,用於根據應用來在後續段提取。

圖4 : 選擇的有源模塊示例(紅色)
總zong而er言yan之zhi,能neng量liang采cai集ji係xi統tong的de設she計ji涉she及ji到dao多duo種zhong重zhong要yao障zhang礙ai及ji挑tiao戰zhan。工gong程cheng師shi需xu要yao盡jin可ke能neng多duo地di提ti升sheng處chu理li性xing能neng,同tong時shi將jiang總zong體ti功gong率lv預yu算suan保bao持chi在zai最zui低di等deng級ji,而er且qie在zai可ke能neng被bei證zheng實shi對dui成cheng本ben極ji敏min感gan的de應ying用yong中zhong不bu大da幅fu增zeng加jia支zhi出chu。必bi須xu竭jie盡jin所suo能neng,使shi用yong最zui優you的de元yuan器qi件jian,並bing確que保bao完wan全quan理li順shun開kai發fa過guo程cheng。通tong過guo使shi用yong本ben文wen詳xiang細xi介jie紹shao的de基ji於yu超chao低di能neng耗haoMCU架構和可配置及可定製器件的開發平台,工程師能夠克服這些障礙,並因而提供更有效的方案。

Canova Techs ETA平台

安森美半導體LC87F7932B MCU的功能框圖
- 噪聲中提取真值!瑞盟科技推出MSA2240電流檢測芯片賦能多元高端測量場景
- 10MHz高頻運行!氮矽科技發布集成驅動GaN芯片,助力電源能效再攀新高
- 失真度僅0.002%!力芯微推出超低內阻、超低失真4PST模擬開關
- 一“芯”雙電!聖邦微電子發布雙輸出電源芯片,簡化AFE與音頻設計
- 一機適配萬端:金升陽推出1200W可編程電源,賦能高端裝備製造
- 具身智能成最大亮點!CITE 2026開幕峰會釋放產業強信號
- 助力醫療器械產業高質量發展 派克漢尼汾閃耀2026 ICMD
- 比異步時鍾更隱蔽的“芯片殺手”——跨複位域(RDC)問題
- 數據之外:液冷技術背後的連接器創新
- “眼在手上”的嵌入式實踐:基於ROS2與RK3576的機械臂跟隨抓取方案
- 車規與基於V2X的車輛協同主動避撞技術展望
- 數字隔離助力新能源汽車安全隔離的新挑戰
- 汽車模塊拋負載的解決方案
- 車用連接器的安全創新應用
- Melexis Actuators Business Unit
- Position / Current Sensors - Triaxis Hall





